(495) 984-74-92
(495) 226-51-87
info@xiron.ru
Telegram - Wa
Главная
Техническая информация
Промышленный холод

Анализ средств вакуумной откачки

Анализ средств вакуумной откачки для использования в холодильных машинах с природными хладагентами низкого давления

модульный чиллер

В современной холодильной технике существует проблема поиска эффективных и экологически чистых хладагентов, применение которых не наносит ущерба окружающей среде.

На протяжении ряда лет в нашей стране и за ее пределами идет активный поиск хладагентов, которые, обладая нулевым или близким к этому потенциалом разрушения озона, могли бы иметь показатели, сравнимые с распространенными в практике фреонами R12, R22, R502 и т.д. Работа по этому направлению идет как по пути синтеза новых моновеществ типа R134a, R125, так и по пути смесевых композиций из известных соединений с целевыми добавками, отвечающими за те или иные свойства вещества — это композиции СМ 1,° C10 и др.

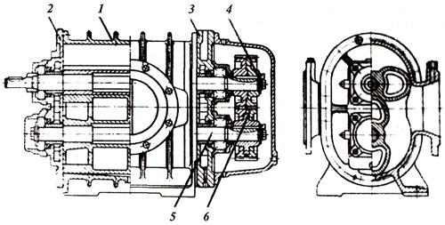
Двухроторный вакуумный насос ДВН-50-1

Рис. 1. Двухроторный вакуумный насос ДВН-50-1:
1 — корпус; 2,3 — торцевые крышки; 4 — ведущий ротор;
5 — ведомый ротор; 6 — синхронизирующие шестеренки.

Новые озонобезопасные холодильные агенты имеют высокую стоимость, их промышленное применение сосредоточенно в развитых странах. Кроме того, большинство из агентов синтетического происхождения имеют потенциал глобального отепления окружающей среды. Поэтому перевод на них действующего холодильного оборудования является более чем проблематично. Применение же смесевых композиций несет существенные трудности в эксплуатации холодильных машин торгового и промышленного назначения, где трудно избежать утечек хладагента.

Такие факторы как экологическая чистота, доступность, термодинамическая эффективность, простота обслуживания, дешевизна, пожаровзрывоопаспость, теплофизическое совершенство вызвали необходимость поиска для холодильных установок рабочих веществ природного происхождения, в первую очередь, воды, водных растворов солей, спиртов, эфиров.

В настоящее время вода большей частью рассматривается как хладоноситель с весьма совершенными теплофизическими свойствами. Однако ее можно рассматривать как холодильный агент низкого давления. При околонулевых температурах упругость насыщенных паров воды составляет 600 Па. Существующий парк холодильных компрессоров не может быть успешно использован для целей компремирования столь больших объемов паров воды из-за ограниченной скорости откачки и невозможности достижения столь низкого остаточного давления.



Из вышеизложенного следует, что наиболее целесообразно в качестве средства компремирования использовать механические вакуумные насосы как наиболее приспособленные для работы в таких условиях.

Основными показателями пригодности конкретного типа вакуумного насоса являются: высокое быстродействие, минимальный расход энергии, возможность запуска от атмосферного давления. Задачей настоящего анализа является выбор средства вакуумной откачки в максимальной степени отвечающего данным требованиям.

В ряду средств вакуумной откачки с высоким быстродействием можно выделить многопластинчатые вращательные, водокольцевые и двухроторные насосы. Первые два типа насоса могут быть включены от атмосферного давления. Предельное остаточное давление многопластинчатого насоса в одноступенчатом варианте 15-25 мм рт. ст., требуемый рабочий уровень остаточного давления в 4-5 раз меньше (для воды, как хладагента). Удельный расход мощности при откачке воздуха составляет 0,1 кВт/(л/с). Необходимость подачи масла в проточную часть машины также препятствует использованию многопластинчатого насоса для непосредственной откачки паров пищевых жидкостей.

Водокольцевые насосы обладают хорошей скоростью откачки, однако, удельный расход мощности у них весьма высокий (200 кВт/(л/с)) из-за высокой вязкости воды, используемой в качестве рабочей жидкости. Остаточное давление в водокольцевых насосах не позволяет использовать такие машины для охлаждения воды и водных растворов. Только соединение с эжекторной ступенью может увеличить глубину вакуума до желаемого уровня, но при этом резко падает скорость откачки. Двухроторные вакуумные насосы не позволяют вести откачку от атмосферного давления, для начала работы требуется предварительное разрежение, которое осуществляется помощью вращательного насоса.

Низкий расход мощности (гораздо ниже 0,1 кВт/(л/с)) в сочетании с высокой скоростью откачки, которая достигает в промышленных образцах машин 1500 л/с и выше, делают двухроторные насосы весьма перспективными для применения в вакуумных парокомпрессионных холодильных машинах.

 

"Добавить комментарий"


"Обновить"

<< Теплообменная аппаратура   Вакуум-сублимационная сушка продуктовс использованием термоэлектрических модулей >>

 

Menu