(495) 984-74-92
(495) 226-51-87
info@xiron.ru
Telegram - Wa
Главная
Техническая информация
Промышленный холод

Способы крепления термобаллона трв

Способы крепления термобаллона ТРВ

осушитель воздуха


Термобаллоны ТРВ следует закреплять, как правило, на горизонтальных участках всасывающих трубопроводов. Чтобы термобаллон мог быстро реагировать на любое изменение температуры в трубопроводе, необходимо обеспечить оптимальные условия теплообмена между трубопроводом всасывания и термобаллоном ТРВ.

При неправильной установке термобаллона ТРВ не сможет работать нормально. Следовательно, термобаллон ТРВ необходимо устанавливать на трубопроводе всасывания на выходе из прибора охлаждения так, чтобы его температура постоянно в наибольшей степени соответствовала температуре пара хладагента, выходящего из прибора охлаждения, т.е. tТб ≈ tВП.

Поскольку температура термобаллона должна в максимальной степени соответствовать температуре паров хладагента, его следует укреплять на чистом и прямолинейном участке трубопровода с помощью специального хомута, поставляемого заводом изготовителем.

В случае, когда действительно нельзя установить термобаллон на горизонтальном участке трубопровода всасывания, выход капиллярной трубки из термобаллона обязательно должен находиться вверху. С другой стороны, термобаллоны никогда не следует размещать вблизи массивных металлических частей и тем более близко к воздушной струе, поступающей от вентилятора.

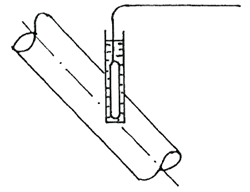
Не рекомендуется устанавливать термобаллон под трубопроводом прибора охлаждения, как показано на рис. 1.

Крепление термобаллона

Рис. 1. Крепление термобаллона:
1 — трубопровод прибора охлаждения; 2 — термобаллон; 3 — хомут; 4 — масло.

Масло, которое возвращается в компрессор, под действием силы тяжести стекает в нижнюю часть трубопровода всасывания и играет роль теплоизоляции. Поэтому термобаллон будет в действительности измерять не температуру пара, а температуру масла. При уменьшении температуры пара, снижается и температура масла, а затем это падение температуры передается термобаллону. Следовательно, время реакции термобаллона на понижение температуры паров хладагента возрастает и закрытие ТРВ осуществляется с задержкой. При значительном запаздывании возможен гидроудар в компрессоре.

Основные рекомендации по креплению термобаллона показаны на рис. 3-9. При всех указанных способах крепления термобаллон имеет температуру, в какой-то степени отличающуюся от температуры паров хладона на выходе из прибора охлаждения, так как трубопровод в месте крепления термобаллона имеет толстую стенку или большой диаметр и, следовательно, недостаточную теплопроводность. Эти факторы оказывают влияние на точность поддержания перегрева. В связи с этим рекомендуется при наличии возможностей термобаллон устанавливать в специальной термометровой гильзе (рис. 2), врезанной во всасывающую линию у выхода из прибора охлаждения. Кроме того, в результате этого на термобаллон не будет оказывать влияния температура окружающего воздуха.

Установка термобаллона ТРВ в гильзе

Рис. 2. Установка термобаллона ТРВ в гильзе.

Для улучшения теплопередачи и исключения конденсации термометровую гильзу влаги рекомендуется заполнять смесью из двух объемных частей пудры алюминиевой ПАП-1 или ПАП-2 и одной части смазки ЦИАТИМ-201.

Если же нет возможности установить термобаллон в такой гильзе, то во всех прочих случаях термобаллон должен быть изолирован с таким расчетом, чтобы на его работу не оказывала влияния температура окружающего воздуха.

На рис. 3 представлены способы наилучшего крепления термобаллона на трубопроводе прибора охлаждения согласно рекомендациям завода изготовителя в зависимости от диаметра всасывающего трубопровода:

a) dТР < 24 мм; b) 24 мм < d < 36 мм; c) dТР > 36 мм.

Способы крепления термобаллона

Рис. 3. Способы крепления термобаллона:
1 — трубопровод; 2 — термобаллон; 3 — масло.

Если диаметр всасывающего трубопровода менее 24 мм, термобаллон ТРВ должен располагаться на верхнем гребне этого трубопровода, так как там влияние пленки масла, которое всегда в большем или меньшем количестве присутствует в хладагенте в виде жидких частиц, на искажение информации о величине перегрева самое незначительное. Для трубопроводов с диаметром более 24 мм характер распределения масляной пленки по внутренней поверхности всасывающей магистрали различен. Поэтому для обеспечения хорошего теплообмена между термобаллоном и всасывающим трубопроводом, необходимого для обеспечения нормальной работы ТРВ, следует размещать термобаллон в точке окружности трубопровода, соответствующей значениям 10 или 14 ч на часовом циферблате, если диаметр трубопровода заключен между 24 и 36 мм, или в точке 16 или 20 ч, если диаметр трубопровода более 36 мм.

Следовательно, чем больше диаметр трубопровода, тем ниже рекомендуется опускать термобаллон, никогда не устанавливая его под трубопроводом (из-за наличия масляной пленки).

Крепление термобаллона к трубопроводу прибора охлаждения допускается только хомутом завода изготовителя. Другие крепежные материалы: электропровода, проволока и т.д. использовать не допускается. Это связано с температурными деформациями, которые могут вызывать ослабление контакта между термобаллоном и трубопроводом прибора охлаждения. При этом вероятность гидроударов резко возрастает.



Кроме этого необходимо обязательно предусмотреть теплоизоляцию термобаллона, чтобы исключить влияние теплого воздуха, проходящего через прибор охлаждения. В противном случае в ТРВ будет поступать сигнал о ложном перегреве паров хладагента на всасывании (рис. 4).

Изоляция термобаллона

Рис. 4. Изоляция термобаллона:
ТРВ — терморегулирующий вентиль; Тб — термобаллон;
И — прибор охлаждения; ИЗ — теплоизоляция.

Также термобаллон должен быть изолирован и от других источников теплоты (в частности, от нагрева излучением).

При монтаже выходящего трубопровода прибора охлаждения, направленного вверх к компрессору, при установке термобаллона необходимо учитывать особенности его монтажа (рис. 5).

При таком монтаже в нижней части прибора охлаждения происходит накапливание масла и хладагента в результате стекания данной смеси под действием силы тяжести, при остановке компрессора.

Неправильный монтаж термобаллона

Рис. 5. Неправильный монтаж термобаллона.

При последующим запуске компрессора давление в приборе охлаждения будет резко падать, приводя к вскипанию хладагента, растворенного в масле.

В результате произойдет резкое поглощение теплоты, что приведет к охлаждению трубопровода и термобаллона. В момент пуска компрессора, давление конденсации небольшое и ТРВ должен быть полностью открытым, чтобы как можно полнее запитать прибор охлаждения. Но за счет охлаждения термобаллона клапан ТРВ резко закроется и появится реальная опасность отключения компрессора по команде реле низкого давления. Поэтому монтаж термобаллона ТРВ в точках (1, 2 и 3) рис. 5 недопустим. Для предотвращения данной опасности необходимо в нижней части поднимающего трубопровода предусмотреть маслоподъемную петлю, а термобаллон установить до ловушки так, чтобы возможное понижение температуры петли при запуске компрессора не оказывало бы влияние на термобаллон (рис. 6).

Монтаж термобаллона ТРВ при наличии маслоподъемной петли

Рис. 6. Монтаж термобаллона ТРВ при наличии маслоподъемной петли.

В момент пуска компрессора жидкость, накопленная в маслоподъемной петле, начнет испаряться, сильно охлаждая всасывающую магистраль и термобаллон. Кроме того, скопление жидкости в петле может повлечь возникновение пульсаций ТРВ (колебаний величины перегрева паров хладагента), (рис. 6) и его беспорядочную работу. Поэтому устанавливать термобаллон на вертикальный участок всасывающей магистрали после петли не рекомендуется (рис. 6).

Если же установить термобаллон на горизонтальном участке трубопровода не представляется возможным, то его устанавливают на вертикальном участке трубопровода так, чтобы хладагент по данному участку двигался бы сверху вниз (рис. 7).

Монтаж термобаллона ТРВ на вертикальном участке трубопровода

Рис. 7. Монтаж термобаллона ТРВ на вертикальном участке трубопровода.

При таком движении хладагента по трубопроводу, масло будет регулярно возвращаться в компрессор, и его прохождение не будет вызывать периодических пульсаций ТРВ.

Специалист всегда должен помнить, что работа ТРВ управляется в зависимости от температуры термобаллона, поэтому к месту размещения термобаллона надо относиться с учетом истинного представления о температуре паров хладагента, выходящих из прибора охлаждения.

Например, термобаллон недопустимо размещать на всасывающем коллекторе (при таком расположении не принимается во внимание температура паров хладагента на выходе из нижних секций прибора охлаждения) или на выходном патрубке, соединяющем одну из секций прибора охлаждения с коллектором прибора охлаждения (рис. 8). Также не рекомендуется устанавливать термобаллон в местах пайки или на изогнутых участках всасывающего трубопровода, так как в этих случаях тепловой контакт между термобаллоном и трубопроводом будет плохим.

Монтаж термобаллона ТРВ на всасывающем трубопроводе

Рис. 8. Монтаж термобаллона ТРВ на всасывающем трубопроводе.

На рис. 8 рекомендуемое расположение термобаллона соответствует только точке (1).

Следует также отметить, что температура термобаллона определяется не только температурой хладагента, циркулирующего во всасывающей линии, но и температурой наружного воздуха, окружающего термобаллон. Монтаж термобаллона должен быть проведен так, чтобы повысить эффективность теплообмена между хладагентом и термобаллоном и максимально снизить влияние температуры наружного воздуха.

Поэтому трубопровод в месте крепления термобаллона должен быть совершенно чистым и прямолинейным. Улучшение контакта между термобаллоном и трубопроводом можно добиться применением специальной теплопроводной пасты, заполняя ею пустоты вдоль образующих трубы и термобаллона. Это способствует повышению теплопередачи. Крепежный хомут термобаллона должен быть затянут до предела, чтобы термобаллон не проворачивался от руки.

Для уменьшения влияния температуры окружающего воздуха необходимо термобаллон теплоизолировать от окружающей среды. Применяемая для этой цели теплоизоляция должна быть съемной (чтобы можно было снять ее, не разрушая, при осмотре термобаллона) и непромокаемой, чтобы она не поглощала воду (поскольку влага способствует увеличению инерционности термобаллона). Необходимость использования теплоизоляции возрастает с увеличением разности между температурой хладагента и температурой окружающего наружного воздуха.

Следует также помнить, что трубка внешнего уравнивания давления в ТРВ должна врезаться во всасывающую магистраль ниже по потоку хладагента от термобаллона на расстоянии не менее 10 см, чтобы возможные утечки жидкого хладагента через сальниковое уплотнение штока ТРВ не приводили к необоснованному закрытию клапана ТРВ (рис. 9). При этом трубка внешнего уравнивания (3) должна врезаться в верхнюю часть всасывающего трубопровода (1), чтобы исключить попадание масла, циркулирующего в нижней части трубопровода всасывания, в трубку внешнего уравнивания и накопления его в ней. В противном случае это приведет к нарушению нормальной работы ТРВ.

Подсоединение трубки внешнего выравнивания

Рис. 9. Подсоединение трубки внешнего выравнивания.
1 — всасывающий трубопровод; 2 — термобаллон; 3 — трубка внешнего выравнивания.

Поэтому трубопровод уравнительной линии присоединяется к всасывающей трубке компрессора в непосредственной близости от термобаллона, но обязательно за ним по ходу газа к компрессору (рис. 9).

Терморегулирующие вентили с уравнительной линией предусмотрены в основном для использования совместно с распределительным устройством, предназначенным для равномерного распределения хладагента после вентиля в параллельно соединенные змеевики испарителя холодильной установки. В этом случае необходимо монтировать вентиль таким образом, чтобы хладагент двигался по распределителю сверху вниз или наоборот. Не рекомендуется монтировать распределитель в горизонтальном положении, так как поступающий в распределители хладагент находится в парожидкостном состоянии и может происходить расслоение, в результате чего заполнение змеевиков прибора охлаждения будет неравномерным, в нижние трубки будет поступать больше жидкости, а в верхние — больше пара.

Примеры расположения распределителей показаны на рис. 10.

Положение распределителей в рабочем состоянии

Рис. 10. Положение распределителей в рабочем состоянии.

Вариант (3) не рекомендуется, но допустим, если расход хладагента через распределитель достаточно велик.

Кроме того, при подаче хладагента в прибор охлаждения через распределитель жидкости, длины всех трубок, соединяющих распределитель с соответствующими секциями прибора охлаждения, должны быть одинаковыми. Например (см. рис. 11), если трубопровод подвода жидкого хладагента (6) в испаритель (4) значительно длиннее трубопровода (3), то это приведет к тому, что перепад давления в трубопроводе (6) будет гораздо больше, чем в трубопроводе (3), поэтому жидкий хладагент испарится в нем гораздо быстрее, чем в первом, и в результате трубопровод (2) прибора охлаждения окажется недостаточно заполненным жидким хладагентом, даже если термобаллон правильно установлен и теплоизолирован. Следовательно, нормальная работа прибора охлаждения будет нарушена и его производительность уменьшится.

 Подача хладагента в прибор охлаждения

Рис. 11. Подача хладагента в прибор охлаждения:
1 -ТРВ; 2 — распределитель жидкости; 3, 6 — трубопроводы;
4 — прибор охлаждения; 5 — термобаллон; 7 — вентилятор.

Трубки всех змеевиков испарителя, работающего с распределительным устройством, должны иметь одинаковую длину. Это связано с тем, что равные по длине трубки имеют одинаковое гидравлическое сопротивление. Поэтому поступление хладагента во все змеевики испарителя будет одинаковым.

Поток воздуха, обдувающего испаритель, должен поступать так, чтобы параллельно подключенные змеевики находились в одинаковых условиях (на рис. 12 стрелкой Б показано правильное направление потока воздуха, стрелкой А — возможный вариант, но не рекомендуемый, стрелками В и Г — неправильное). При вариантах В и Г тепловая нагрузка параллельно подключенных змеевиков будет неодинакова и уменьшаться по мере продвижения воздуха от первого змеевика к последующим.

Перед пуском холодильной установки необходимо убедиться в правильности монтажа ТРВ, так как неправильный монтаж его может оказать существенное влияние на работу всей холодильной установки.

Направление потока воздуха

Рис. 12. Направление потока воздуха.

Капиллярная трубка не должна касаться испарителя, она должна быть укреплена таким образом, чтобы не испытывала дополнительных температурных воздействий и в то же время не мешала работникам, обслуживающим холодильную установку.

С хладагентом в вентиль могут поступать механические примеси, что приводит к засорению механизма приборов, а также и испарителей. Чтобы гарантировать нормальную работу вентиля, перед ним необходимо устанавливать сетчатые фильтры.

Наиболее отрицательное влияние на работу вентиля оказывает наличие влаги в хладагенте. Присутствие влаги для вентиля недопустимо, так как она при дросселировании замерзает в дроссельных органах. Расход при этом уменьшается, что нарушает нормальную работу вентиля (см. рис. 13), а, следовательно, и холодильной машины.

 Места обмерзания (1) вентиля

Рис. 13. Места обмерзания (1) вентиля.

Учитывая вышесказанное, надо стремиться к тому, чтобы содержание влаги в хладагенте не превышало критической точки. Одним из практических способов подсушивания хладона является установка перед вентилями селикагелиевых или цеолитовых осушителей.

Для оттайки обмерзших вентилей не следует пользоваться различными горелками с открытым пламенем. Для этого может быть использован: горячий пар, горячая вода или воздух.
Источник Интернет газета Холодильщик.RU

 

"Добавить комментарий"


"Обновить"

<< Затопление установок   Теплообменная аппаратура >>

 

самоходный ножничный подъемник
Menu