(495) 984-74-92
(495) 226-51-87
info@xiron.ru
Telegram - Wa
Главная
Техническая информация
Промышленный холод

Оборудование при децентрализованном хладоснабжении

Оборудование при децентрализованном хладоснабжении

Децентрализованное (автономное) хладоснабжение характеризуется тем, что в каждом охлаждаемом объекте температура кипения поддерживается одной или несколькими блочными холодильными машинами. Например, для поддержания температуры воздуха −30°С в холодильной камере площадью 1000-1500 м2 требуются 2-3 машины. Поэтому выбор компрессора требуемой холодопроизводительности однозначно решает вопрос о числе и типе всех элементов, входящих в состав блочной холодильной машины полной заводской готовности.

Расчетная холодопроизводительность блочной машины находится по значению расчетной нагрузки на компрессор (в данном случае равной нагрузке на оборудование охлаждаемого помещения), поскольку блочная холодильная машина поддерживает температуру только в одном помещении и смежные охлаждаемые помещения не будут уменьшать нагрузку на компрессор, обслуживающий данное помещение.

В отличие от холодильных установок централизованного хладоснабжения, недостатками которых являются значительная протяженность и разветвленность трубопроводов, наличие большого количества арматуры и хладагента, большой объем монтажных и пусконаладочных работ, сложность автоматизации, при децентрализованном хладоснабжении блочные холодильные машины располагают непосредственно около своего охлаждаемого объекта в вестибюле, в транспортном коридоре, на техническом этаже, на кровле, на открытом воздухе под навесом, благодаря чему отпадает необходимость в машинном отделении.

Размещение блочной холодильной машины

Рис. 1. Размещение блочной холодильной машины:
1 — часть блока с воздухоохладителем; 2 — часть блока с остальными элементами

Холодильные машины могут быть выполнены в виде одного или нескольких блоков (не более трех). Моноблочную холодильную машину устанавливают в проеме, сделанном в наружной стене, так, чтобы часть 1 с воздухоохладителем находилась в камере, а часть 2 с остальными элементами машины — со стороны наружного воздуха (рис. 1).



Размещение блочных холодильных машин в камерах одноэтажного холодильника

Рис.2. Размещение блочных холодильных машин в камерах одноэтажного холодильника:
а — под навесом; б — на техническом этаже; в — на кровле;
1 — воздухоохладительный блок; 2 — компрессорный или компрессорно-конденсаторный блок;
3 — конденсаторный блок

Размещение двухблочной и трехблочной холодильных машин в камерах одноэтажных холодильников показано на рис. 2. Довольно часто компрессорно-конденсаторный блок 2 блочной холодильной машины устанавливают на открытом воздухе под навесом (рис. 2, а), что упрощает техническое обслуживание. Установка блочной холодильной машины на техническом этаже имеет один существенный недостаток, связанный с охлаждением конденсатора. Дело в том, что водяное охлаждение конденсатора осуществить трудно из-за опасности замерзания воды в трубопроводе, проходящем через низкотемпературные помещения холодильника, а воздушное охлаждение конденсатора нежелательно вследствие поступления теплоты конденсации в коридор холодильника. Здесь лучшим решением является установка компрессорного блока 2 на техническом этаже, а конденсаторного блока 3, охлаждаемого воздухом, на кровле (рис. 2, б). Размещение компрессорно-конденсаторного блока 2 на кровле (рис. 2, в) рекомендуют в районах с умеренным климатом, поскольку в условиях континентального климата низкая температура воздуха зимой, большое количество снега, а также высокая температура воздуха летом, дополнительно подогреваемого от поверхности покрытия, создают большие проблемы при эксплуатации.

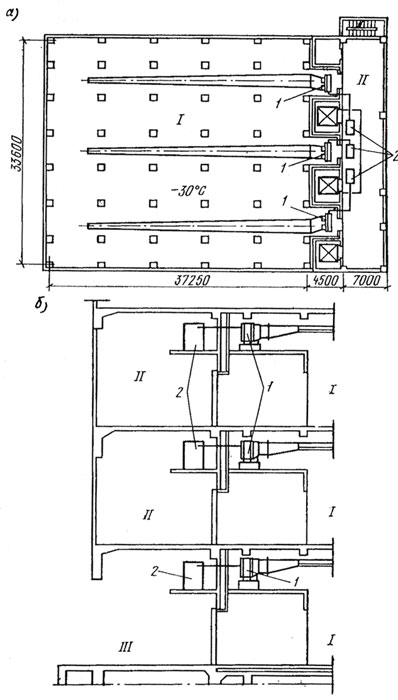
Размещение блочных холодильных машин в многоэтажном холодильнике

Рис.3. Размещение блочных холодильных машин в многоэтажном холодильнике:
а — план этажа; б — разрез холодильника;
I — камера хранения; II — вестибюль; III — платформа;
1 — воздухоохладительный блок с воздуховодом; 2 — компрессорно-конденсаторный блок

Децентрализованное хладоснабжение сборных холодильных камер многоэтажного холодильника применяют редко. На рис. 3 показано размещение блочных холодильных машин в многоэтажном распределительном холодильнике. Грузовая платформа III встроена в контур здания холодильника в целях экономии площади земельного участка. Блоки смонтированы на антресолях: воздухоохладительный 1 в камере I, а компрессорно-конденсаторный 2 в вестибюле II и на платформе III первого этажа. Конденсатор охлаждается водой, поступающей из градирни (она не показана на рисунке), расположенной на кровле.

Источник: Холодильные установки /Курылев Е.С., Оносовский В.В., Румянцев Ю.Д./ — 2-ое изд., стереотип.— СПб.: Политехника, 2002. с. 323-326.

 

"Добавить комментарий"


"Обновить"

<< Расчет тепловой нагрузки   Подавление процесса инеевыпадения в установках охлаждения и сушки воздуха >>

 

Menu