(495) 984-74-92
(495) 226-51-87
info@xiron.ru
Telegram - Wa
Главная
Техническая информация
Промышленный холод

Подавление процесса инеевыпадения в установках охлаждения и сушки воздуха

Подавление процесса инеевыпадения в установках охлаждения и сушки воздуха

Образование водяного инея на теплопередающих поверхностях ухудшает эффективность, увеличивает габаритные и массовые показатели низкотемпературного оборудования, особенно испарителей и воздухоохладителей промышленного и торгового назначения. В практике эксплуатации такого оборудования основными методами удаления инея остается оттаивание. Очевидный недостаток метода состоит в необходимости периодически отключать холодильный контур, что нарушает технологический режим работы установки. Следует иметь в виду также дополнительный расход энергии в тепловыделяющих элементах и потери при захолаживании системы до рабочей температуры. Частота отключений для отогрева зависит от конструкции и типа аппарата (испаритель, воздухоохладитель, газификатор), а также от условий эксплуатации (влажностной и температурные режимы). Ситуация часто усугубляется в связи с отсутствием надежных датчиков роста толщины слоя инеевого осадка. Холодильная система отключается на отогрев по реле времени через произвольно устанавливаемые интервалы, что приводит к существенному перерасходу электроэнергии.

Поэтому все предложенные методы подавления формирования инеевого слоя выполняются без отключения прибора охлаждения на оттаивание и направлены на повышение эффективности теплообмена и увеличение частоты остановок холодильного контура на оттаивание.

В некоторых случаях, при положительных температурах воздуха в охлаждаемом помещении, рост инеевого слоя можно замедлить за счет отвода влаги с теплопередающей поверхности приборов охлаждения телами капиллярно-пористой структуры [1].

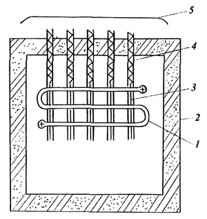
Как видно из рис. 1, охлаждающий прибор 1 с оребренной теплопередающей поверхностью помещен в изоляционный кожух 2. Ребра 3 охлаждающего прибора заключены в оболочку 4 из капиллярно-пористого материала, в качестве которого используется металлическая мелкоячеистая сетка, соединенная в несколько слоев точечной сваркой.

Схема устройства отвода влаги с приборов охлаждения телами капиллярно-пористой структуры

Рис. 1. Схема устройства отвода влаги с приборов охлаждения телами капиллярно-пористой структуры

Теплый конец капиллярно-пористой оболочки каждого ребра выводится через стенку изоляционного кожуха 2 в окружающую среду. Для защиты от атмосферных воздействий и загрязнений все сетчатые выводы расположены под навесом 5.

Работа охлаждающего прибора осуществляется следующим образом. Периодическая подача хладагента в охлаждающий прибор 1 вызывает охлаждение ребер 5, а также их покрытия из капиллярно-пористого материала. При этом на поверхности капиллярно-пористой оболочки и внутри ее происходит выпадение капельной влаги, которая под действием капиллярных сил транспортируется за пределы изоляционного кожуха в окружающую среду. Непрерывное удаление влаги из сетчатых выводов осуществляется простым испарением.

Достоинствами системы подавления процесса инеевыпадения, описанной выше, являются простота устройства, отсутствие движущихся частей и дополнительных источников энергии.

Эффективность работы системы капиллярно-пористого отсоса влаги в сильной степени зависит от температурного режима работы прибора охлаждения. Как показали теоретические оценки, очехление ребер мелкоячеистой сеткой целесообразно при температурах основания ребра −15°С и выше. При низкотемпературных режимах эксплуатации прибора охлаждения происходит замерзание капиллярных каналов и резкое ухудшение условий транспортировки капельной влаги по ним.

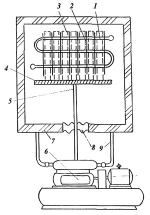
Идея совмещения принципа интенсификации теплообмена в воздухоохладителях путем удаления части твердого осадка льдоинеевых отложений развита в техническом решении по авторскому свидетельству № 1068673 [2]. Схема устройства воздухоохладителя, приведенная на рис. 2, включает в качестве основных конструктивных элементов змеевики 1 для циркуляции холодильного агента, ряд пластинчатых ребер 2, посаженных на прямых участках змеевиков с шагом друг относительно друга.

Конструктивная схема воздухоохладителя с П-образными вставками

Рис. 2. Конструктивная схема воздухоохладителя с П-образными вставками

В межреберном пространстве установлены вертикальные П-образные вставки 3, выполненные из перфорированного алюминиевого листа и укрепленные у основания на плите 4, которая в свою очередь жестко связана посредством штанги 5 с корпусом компрессорного агрегата 6.

Ввод штанги 5 через ограждения холодильной камеры 7 осуществляется через резиновые манжеты 8. Компрессорный агрегат 6 соединяется со змеевиком 1 воздухоохладителя посредством трубопроводов 9.

Принцип действия описываемого устройства заключается в следующем. Влажный отепленный воздух камеры 7 поступает в межреберное пространство воздухоохладителя, где охлаждается благодаря кипению холодильного агента в каналах змеевиков 1 и конвективной теплоотдаче от ребер 2.

В результате переохлаждения водяной пар, содержащийся в воздухе, выпадает в виде инея на поверхности ребер и межреберных участках змеевиков.

При работе компрессорного агрегата 6 возникающие колебания его корпуса передаются по штанге 5 к горизонтальной плите и к укрепленным на ее поверхности П-образным вставкам 3, размещенным в межреберном пространстве с зазором. Совершая возвратно-поступательное движение в межреберном пространстве, П-образные вставки срезают кромками перфорации слой инея с пластинчатых ребер 2. Измельченный иней подхватывается потоком воздуха и уносится за пределы воздухоохладителя в объем камеры. Периодическое удаление инея с рабочих поверхностей воздухоохладителя обеспечивает непрерывность его работы без необходимости организации отогревов. Последнее дает значительное сокращение потребляемой энергии и непроизводительных простоев оборудования.

Кроме того, устройство воздухоохладителя с П-образными вставками обладает рядом других преимуществ, среди которых следует отметить развитие поверхности теплообмена вследствие возникновения искусственной шероховатости и пористости выпавшего на ребрах слоя, а также увеличение суммарного коэффициента теплоотдачи.

Как показали результаты японских исследователей, в условиях вынужденной конвекции воздуха коэффициент теплоотдачи к шероховатому слою инея почти в 2 раза выше аналогичных показателей для плоской стенки без инея. Величина же суммарного коэффициента теплопередачи при этом зависит от толщины образованного слоя. При толщине слоя меньше 2 мм коэффициент теплопередачи становится выше по сравнению с условиями безинеевого теплообмена гладкой стенки с сухим воздухом [3].

В устройстве воздухоохладителя с П-образными вставками именно такие условия интенсификации достигаются путем установки зазора 1,5-2 мм между пластинчатыми ребрами и перфорированными стенками вставок.

Следует сказать, что устройство действует автоматически, оно не требует постановки управляющей автоматики. По мере намерзания слоя инея на ребрах, происходит отепление рабочего объема камер. Стандартная автоматика обеспечит включение компрессора, что приведет к быстрому удалению лишних слоев инея с поверхности ребер и понижению температуры воздуха в камере. Так как иней не удаляется из полезного объема камеры, продукты, охлаждаемые там, не подвергаются усушке, их качество будет сохранено.

Способность воздухоохладителя с П-образными вставками к удалению инея с теплопередающей поверхности и выносу его за пределы змеевиково-ребристой батареи позволяет использовать этот аппарат для генерации искусственного снега.

Конструкция снегогенератора на основе воздухоохладителя с П-образными вставками имеет особенности, вытекающие из назначения аппарата и принципа его работы. В частности, водоразбрызгивающие форсунки, обеспечивающие подачу основной массы воды в поток холодного воздуха, должны быть расположены после змеевиково-ребристой батареи воздухоохладителя. В этом случае иней, образованный на теплопередающей поверхности батареи, в результате работы П-образных вставок устройства снятия инея перейдет в холодный поток воздуха в виде мелкодисперсной ледяной пыли, которая станет центром кристаллообразования для основной массы воды, впрыскиваемой в поток холодного воздуха. В результате образование кристаллов искусственного снега будет происходить активно и при меньшей разности температур между водой и воздухом.

Образование мелкодисперсной ледяной пыли обеспечивается начальным влагосодержанием воздуха, которое при прочих равных условиях выше у воздуха, имеющего большую температуру. Поэтому при наличии соответствующего резерва по холодопроизводительности, возможна эксплуатация снегогенератора в условиях положительных температур окружающего воздуха. Последнее имеет практическое значение в сельском хозяйстве и при организации спортивных тренировок и соревнований по зимним видам спорта.

Обеспечение незабиваемости кожухотрубных и кожухозмеевиковых теплообменников-охладителей влажных газов также достигается путем удаления водяного инея с теплопередающей поверхности стенки. В практике эксплуатации теплообменников-вымораживателей влаги эта задача решается установкой двух аппаратов, работающих параллельно, причем, когда один теплообменник работает, другой переключается на отогрев. Попеременное переключение аппаратов обеспечивает непрерывный эксплуатационный цикл.

Недостатком схемы параллельно действующих теплообменников-вымораживателей является удорожание установки из-за наличия дополнительного аппарата и автоматически действующего механизма переключения клапанов, управляемых логическим устройством. Формирование сигнала, управляющего работой механизма переключения клапанов, осуществляется в логическом устройстве на основании поступающих от датчиков температуры или перепада давлений сигналов о достижении заданных либо предельно допустимых значений этих величин.

Насыщенность схемы арматурой и автоматикой оправдывает ее применение в таких сложных и ответственных узлах теплообмена очистки воздуха, какими являются устройства регенераторов установок разделения воздуха.

Стремление упростить узел теплообменников-вымораживателей влаги из воздуха привело к техническому решению, в котором незабиваемость кожухотрубного теплообменника обеспечивается в одном аппарате [4].

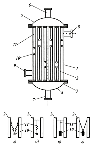
На рис. 3 приведена схема устройства теплообменника, реализующая техническую сущность предложенного решения. Теплообменник состоит из обечайки 1, трубного пучка 2, трубных решеток 3, крышек 4 и 5, штуцеров входа и выхода холодильного агента 6, 7, подводящих и отводящих патрубков влажного воздуха 8 и 9. Кроме того, в межтрубном пространстве пучка между трубными решетками смонтирована очистительная насадка 10, укрепленная на упругих элементах 11. Очистительная насадка 10 выполняется из высокотеплопроводного металла в форме шара, цилиндра или эллипсоида. Упругие элементы 11 представляют собой гибкие стальные спицы разной длины (см. рис. 3). Конструктивно они могут выполняться также в виде пружин (варианты а и б) или подвесных нитей (варианты в и т.д.).

Схема устройства теплообменника

Рис. 3. Схема устройства теплообменника

Масса элементов очистительной насадки и интервал се размещения зависят от жесткости упругих связей и высоты теплообменника.

Работа теплообменника-вымораживателя осуществляется следующим образом. Низкотемпературный энергоноситель (хладагент) по штуцеру 6 поступает во внутритрубное пространство пучка 2. Охлаждаемый поток влажного воздуха, пройдя штуцер 8, поступает в межтрубное пространство аппарата, где из него выпадает инеевый осадок, формирующийся на стенке трубок в виде слоя переменной толщины. Под действием охлаждаемого потока воздуха расположенная в межтрубном пространстве на упругих элементах 11 очистительная насадка 10 приходит в колебательное движение и ударяет по трубкам пучка 2. В результате инеевый слой подвергается разрушению, и измельченные частицы инея выносятся потоком воздуха через отводящий патрубок 9. Отепленный хладагент покидает аппарат через штуцер 7.

Для успешной работы теплообменника необходимо обеспечить среднюю скорость воздуха в межтрубном пространстве аппарата порядка 14-16 м/с.

Литература.

1. Маринюк Б.Т., Васютин В.А., Ворошилов В.П. и др. Способ работы охлаждающих приборов А.С. СССР, № 903671. БИ № 5. 1982.
2. Маринюк Б.Т., Кан К.Д., Юрлов Ю.П., Елисеев Г.Н. Воздухоохладитель. А.С. СССР, № 903671. БИ № 5. 1982.
3. Маринюк Б.Т., Иванов Б.А., Александров Н.А. и др. Атмосферный криогенный газификатор непрерывного действия А.С. СССР, № 1638496. Опубл. БИ № 12. 1991.
4. Маринюк Б.Т., Румянцев Д.Е., Уткин М.В., Назаренко М.Р. Теплообменник. А.С. СССР, № 117908. БИ № 34. 1985.

Источник: интернет-газета .holodilshchik.ru

 

"Добавить комментарий"


"Обновить"

<< Оборудование при децентрализованном хладоснабжении

 

Menu